共计 751 个字符,预计需要花费 2 分钟才能阅读完成。
在民事案件一审立案阶段或者执行立案阶段,在向法院提交立案材料时,法院常常要求提交人填写当事人的本人银行账户,但是有时候可能只知道当事人银行账户是哪个银行,但不清楚具体是哪个支行,此时,该如何查询呢?通常情况下,一般本人是可以查询自己名下的银行账户对应的开户行(具体到支行)信息的,但是他人是否可以查询呢?经过实践证明,北京银行是允许查询他人的银行账户开户行的,具体方法王志满律师分享如下。亲测有效!
一、查询方法
👉👉👉拨打95526,接通后输入“1”自助语音服务,接着输入“7”开户行查询,智能语音会提示请输入银行账号以# 号结束,按要求输入银行账号并按“#”结束,此时智能语音会告知开户行,之后可以选择重听,或者短信接收开户行信息。

二、验证方法
为了稳妥起见,建议可以选择以下方法之一核实开户行信息的准确性,核实的方法有两种。
1、如果自己没有北京银行账户,则找一个别人的北京银行的账户,例如可以找自己的朋友、同事、家人等,要一个他们的北京银行账户和对应的开户行,然后自己拨打95526客服电话查询,对比查询到的开户行是否和正确信息一致。如果一致,说明使用上述方法查询到的结果是可信的。
2、如果自己有北京银行账户,则可以用他人(例如同事、朋友等)的手机号拨打95526客服电话进行查询,对比查询到的开户行是否和正确信息一致。如果一致,说明使用上述方法查询到的结果是可信的。
三、如何判断银行账号是否是北京银行的?
(一)第一种方法。
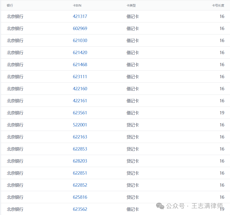
北京银行账户的前6位一般是621468,以下是王律通过网络信息整理的各种类型北京银行的前6位信息,仅供参考。

(二)第二种方法。
可以将完整的银行账号复制到支付宝搜索框,此时支付宝会自动识别该串数字为银行账号,并展示出该银行账号对应的银行,例如下图,便显示出该银行账号为北京银行账号。

